
据信用河北官网公开信息,近日,因未经批准擅自取水钱掌柜配资,唐山松汀钢铁有限公司(以下简称“唐山松汀钢铁”)被迁安市水利局罚款7.5万元。

图片来源:信用河北
文号“迁水罚决﹝2025﹞A09”行政处罚决定书显示,唐山松汀钢铁存在“有压热焖结净钢渣处理项目未经批准擅自取水”的违法事实,依据《中华人民共和国水法》,迁安市水利局决定对唐山松汀钢铁处以罚款7.5万元,行政处罚的决定日期为2025年10月29日。
经查询信用河北,唐山松汀钢铁还存在6条行政处罚(2021年),5条因环保问题处罚,1条因安全问题处罚,罚款金额最高的为20万元。
钱掌柜配资

图片来源:信用河北
消息面上,据同花顺财经,10月31日,唐山迁安松汀钢坯报2980元/吨,下调20元/吨。据中国钢铁新闻网,2024年11月,唐山松汀钢铁被河北省生态环境厅评定为环保绩效A级企业。

图片来源:中国钢铁新闻网
天眼查显示,唐山松汀钢铁有限公司成立于1999年,位于河北省唐山市迁安市,是一家以从事黑色金属冶炼和压延加工业为主的企业,注册资本8亿元。2024年报参保人数为4059人。

图片来源:天眼查
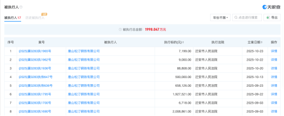
据天眼查数据,唐山松汀钢铁目前是被执行人,被执行总金额高达1998.047万元,已被限制高消费。
来源:信用河北、同花顺财经、中国钢铁新闻网、天眼查
联系方式:hbpd@eastdaymail.com.cn钱掌柜配资
国元配资提示:文章来自网络,不代表本站观点。